VACUUM MANIPULATOR - VM 150/4-1,5x1

Basic description:

  • Main supporting steel structure with a four-pointsuspension
  • Cross beams manually adjustable in the "x" axis
  • Four suction cups 255 mm in diameter
  • Suction cups manually adjustable in “y¨ axis
  • Vacuum pump – design (400V three phase system, or 230Vsingle phase system)
  • Vacuum tray ensures safe lifting of the load even incase of an unexpected power failure of the air pump
  • Acoustic and visual signalisation of insufficientvacuum in suction cups
  • GRIP/ RELEASE the load through a manual valve conveniently located on the VM control handle
  • Double-acting control to suck off the loadmechanically (electromagnetically using a spiral-button control - for asurcharge)
  • Spiral cable for connecting the handler up to 3 m
  • Quick-clamping system of electrical connection via a connector

Application:

The vacuum manipulator VM 150/4-1,5x1 js a handy little gripping device that allows you to grip and handle small,and medium-sized flat loads up to 150 kg in a horizontal position within the work area, which is given by therange of the lifting equipment (crane or any other lifting device) the vacuum manipulator will be suspended on.

Potential types of loads to be handled:

    ✓    Steel sheets, boards and non-ferrous metals (includingnon-magnetic)
    ✓    Glass plates and boards
    ✓    Plastic plates and boards
    ✓    Stone with grinded surface
    ✓    Wooden plates and boards covered with air-tight finish

Benefits:

  • Simple very convenient anddedicated device that is easy to operate
  • Variable transverse beams and suction cups on the beam can beeasily adjusted by hand
  • Reliable high reliability and minimalmaintenance are ensured
  • Safe safety guaranteed in every situation

Basic technical information:

Maximum lifting capacity (WLL)150 kg (with negative pressure –0.6 bar (-60 kPa))
Intended handlingin horizontal position, to be lifted on a lifting device
Weight80 kg
Max. dimensions of load2500x1250 mm
Min. dimensions of load1100x550 mm
Power supplya) 3+PE (PEN) 400VAC/50Hz/15VAC
b) 1+N+PE 230VAC/50Hz/24VDC

Information table:

Number of suction cups / diameter (mm)LIFTING CAPACITY (kg)WEIGHT(kg)A (mm)B (mm)C (mm)D (mm)E (mm)
4/25515080143010001194 255800
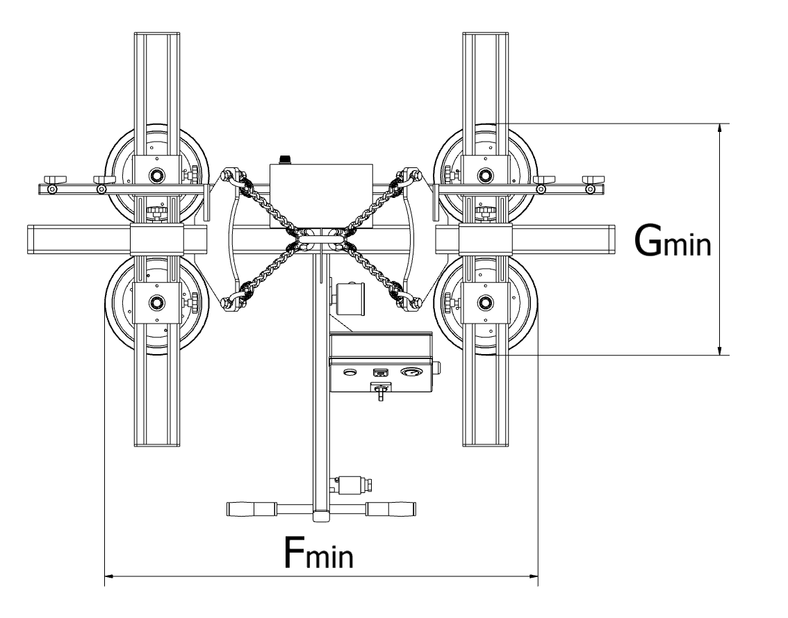
F min (mm)F max (mm)G min (mm)G max (mm)
110015906001155

Photo gallery

3D models + drawings

Example - Manipulation for the cut maschine - laser